back to top
Домой Новости Oculus патентует электромагнитный коннектор для очков

Oculus патентует электромагнитный коннектор для очков

0
218

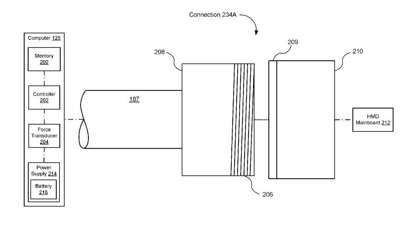
Oculus подала патентную заявку на электромагнитный соединитель кабелей для подключения очков виртуальной реальности к компьютерам. Концепция напоминает MagSafe, патентованный магнитный разъём Apple для ноутбуков, который недавно заменили на разъём USB Type-C.

Пользователи ВР-очков далеко не всегда сидят за компьютерами в одной позе; в магазинах полно приложений, в которых нужно ходить, нагибаться, прыгать, махать руками. В таком контексте кабель становится уязвимым местом: его можно порвать, пережать, за него можно потянуть компьютер или сами очки. Результатом станет повреждение дорогостоящего оборудования.

Большой целью отрасли являются беспроводные очки, но пока до них далеко. Такое оборудование делает устройства больше, тяжелее и дороже, чем ожидает потребитель.

Магнитный коннектор из патентной заявки, в отличие от MagSafe, может передавать не только энергию, но и все необходимые для работы ВР-системы данные между очками и компьютером. Разработчики уточняют, что в случае с очками для ПК устройство может получать информацию с минимумом энергии, а в случае с автономными решениями, вроде Go и Quest, — питание для бортовых вычислительных систем. Никто не исключает и пограничных решений, вроде передачи данных и питания на автономные очки, которые заменяют стационарные, соединяясь с компьютером.

Главным преимуществом решения Oculus является возможность механического отсоединения кабеля при опасном натяжении или сгибе. Это не делает пользователя свободнее, но бережёт оборудование и здоровье в некоторых ситуациях.

Oculus наряду с NVIDIA, AMD, Valve и Microsoft является инициатором консорциума VirtualLink, который продвигает стандарт для соединения ВР-очков и ПК по единственному кабелю. Такой стандарт сделает оборудование проще и дешевле. А если добавить к нему электромагнитный замок, ещё и безопаснее. Сможем ли мы испытать такой симбиоз в серийном продукте? Вопрос остаётся открытым.

Подробнее с разработкой вы можете ознакомиться в этом документе.

Не пропускайте важнейшие новости о дополненной, смешанной и виртуальной реальности — подписывайтесь на Голографику в TelegramВКTwitter и Facebook

Далее: Vive Cosmos: новинка от HTC зарегистрирована в Евросоюзе