
Чуть ранее в этом году Amazon подверглась критике за противоречивую патентную заявку на «ультразвуковой браслет», который можно использовать для слежения за сотрудниками. У компании не лучшая репутация в том, что касается отношения к персоналу, скандалы перемежаются забастовками. В этот раз недовольная общественность зацепилась за дополненную реальность.
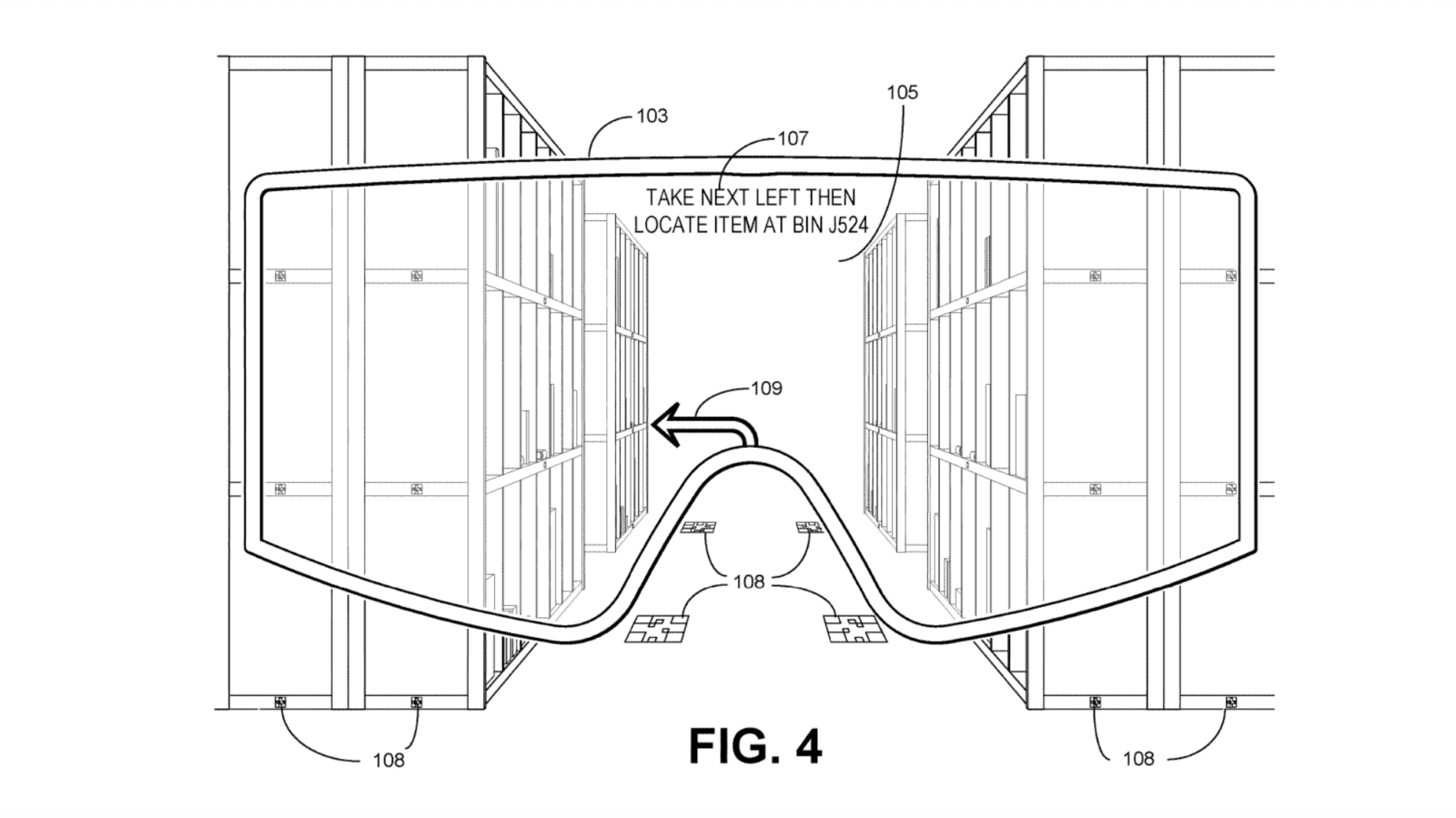
Одна из последних патентных заявок содержит информацию о пользовательском интерфейсе дополненной реальности, содействующем выполнению задач («Augmented Reality User Interface Facilitating Fulfillment»). На первый взгляд, целью применения этого интерфейса является помощь рабочим в навигации по огромным складам: графика в защитных очках с прозрачными линзами направляет человека к нужному товару, скорость сбора товаров увеличивается.

Естественно, для создания дополненной реальности устройство должно отслеживать местоположение сотрудника. И тут в дело вмешался социальный контекст, согласно которому Amazon преследуют претензии за неподобающее отношение к рабочим. Правдивы они или нет, но патент стал поводом для критики со стороны руководства британского профсоюза GMB с более чем полумиллионом членов из разных областей труда.
GMB обвинил Amazon в политике «Большого брата», шпионаже за своими сотрудниками. Тим Роуч (Tim Roache), генеральный секретарь организации, заявил в интервью Mirror:
Мы уже знаем, что Amazon относится к сотрудникам, как к роботам, теперь они по сути пытаются их обмануть.
Работники Amazon находятся под таким давлением, что мы слышим о людях, которые мочатся в бутылки, потому что рабочие задачи не дают времени на перерывы для туалета, или о женщине на поздней стадии беременности, которая должна отрабатывать свою униформу.
Это цена их низких цен. Это звучит как ещё одна мера, чтобы извлечь последний фунт плоти из истощённых, незащищённых рабочих, которые делают всё возможное, чтобы заработать на жизнь.
Технология на современном рабочем месте может быть использована для повышения эффективности, облегчения работы, улучшения и снижения стресса. Или её можно использовать так: боссы Большого брата будут шпионить за рабочими на каждом шагу.
В данном кейсе технология дополненной реальности просто не будет работать без отслеживания сотрудников вплоть до направления их взгляда. Более того, она будет работать тем же образом в любой компании. Сам её базовый принцип стал поводом для очередного конфликта крупнейшего мирового ритейлера с профсоюзом, что поднимает вопрос об использовании работодателями данных о своём персонале.
Без окружающих Amazon скандалов проблемы бы не возникло. Теперь же всей отрасли корпоративной дополненной реальности стоит задуматься о внедрении инструментов контроля данных, таких как блокчейн-протоколы, которые будут следить за тем, куда пересылается и кем просматривается контент.
Без профессиональной оценки трудно судить об условиях труда в Amazon. Однако мы надеемся, что дополнение проблематики использования дополненной реальности от GMB не скажется отрицательно на принятии самой технологии, а лишь направит конструктивную законодательную инициативу и подтолкнёт создание сервисов по защите данных.
Не пропускайте важнейшие новости о дополненной, смешанной и виртуальной реальности — подписывайтесь на Голографику в Telegram, ВК, Twitter и Facebook!


